作者:債券民工在路上
來源:債券民工(ID:bondworker)
最近房地產企業是市場關注的焦點,頻繁上熱搜。三條紅線、集中供地等一系列針對房地產行業監管措施的出臺,對于房地產公司來說是巨大的挑戰。對于很多房地產公司來說,2021年最重要的任務可能就是先活下去。這兩天持續被房地產公司的新聞刷屏,也從某種程度上體現了不少房地產公司面臨的困境。但是,房地產行業昨天也迎來了兩個重磅利好:
      1、根據財聯社2021年11月10日的消息,交易商協會舉行了房地產企業代表座談會,部分房地產公司計劃發行債務融資工具產品。

2、根據中國金融新聞網的報道,高盛表示正在買入中國房企債券,這對于近期波動較大的房企美元債市場無疑是一針強心劑。

信用債券作為資本市場上重要的融資工具和手段,對于房地產行業來說十分重要。根據wind數據的房地產業口徑進行統計,從2019-2021年三年的1月-10月的信用債券融資數據來看,2021年房地產行業債券發行金額相比2020年同期略有下降,金額變化并不大。當然需要關注的是,房地產行業信用債券發行只數占比和發行金額占比均持續下降。

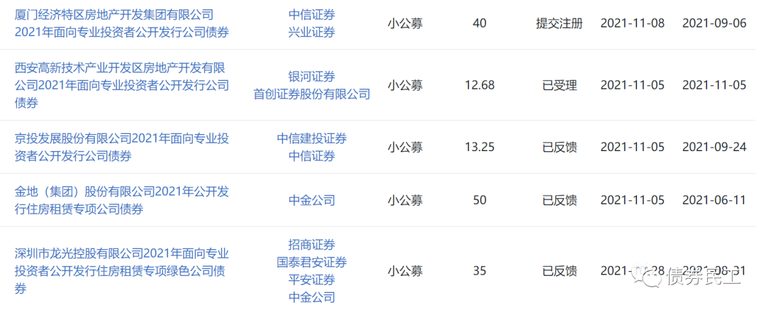
不只是在交易商協會計劃發行債務融資工具,近期多家房地產公司在交易所也在申報公司債券,比如金地(集團)股份有限公司、深圳市龍光控股有限公司和廈門經濟特區房地產開發集團有限公司。

注:文章為作者獨立觀點,不代表資產界立場。
題圖來自 Pexels,基于 CC0 協議
本文由“債券民工”投稿資產界,并經資產界編輯發布。版權歸原作者所有,未經授權,請勿轉載,謝謝!

 
                             
                                 
                                 債券民工
                                    債券民工                                                            





 
                        





 
                     
                